Friday March 2026

হটলাইন

সেবা এবং ধাপ

নং শিরোনাম সেবার ধাপ কার্যকলাপ
  
গ্রাম ভিত্তিক মৌলিক প্রশিক্ষন সেবার প্রসেস ম্যাপ দেখুন
সরকারী/বেসরকারী সংস্থায় আনসার অংগীভুতকরণ এর প্রসেস ম্যাপ দেখুন
জরুরী প্রয়োজনে নির্বাহী আদেশে আনসার অঙ্গীভূতকরণ দেখুন
অঙ্গীভূত আনসার মোতায়েনের মাধ্যমে নিরাপত্তা সেবার প্রসেস ম্যাপ দেখুন
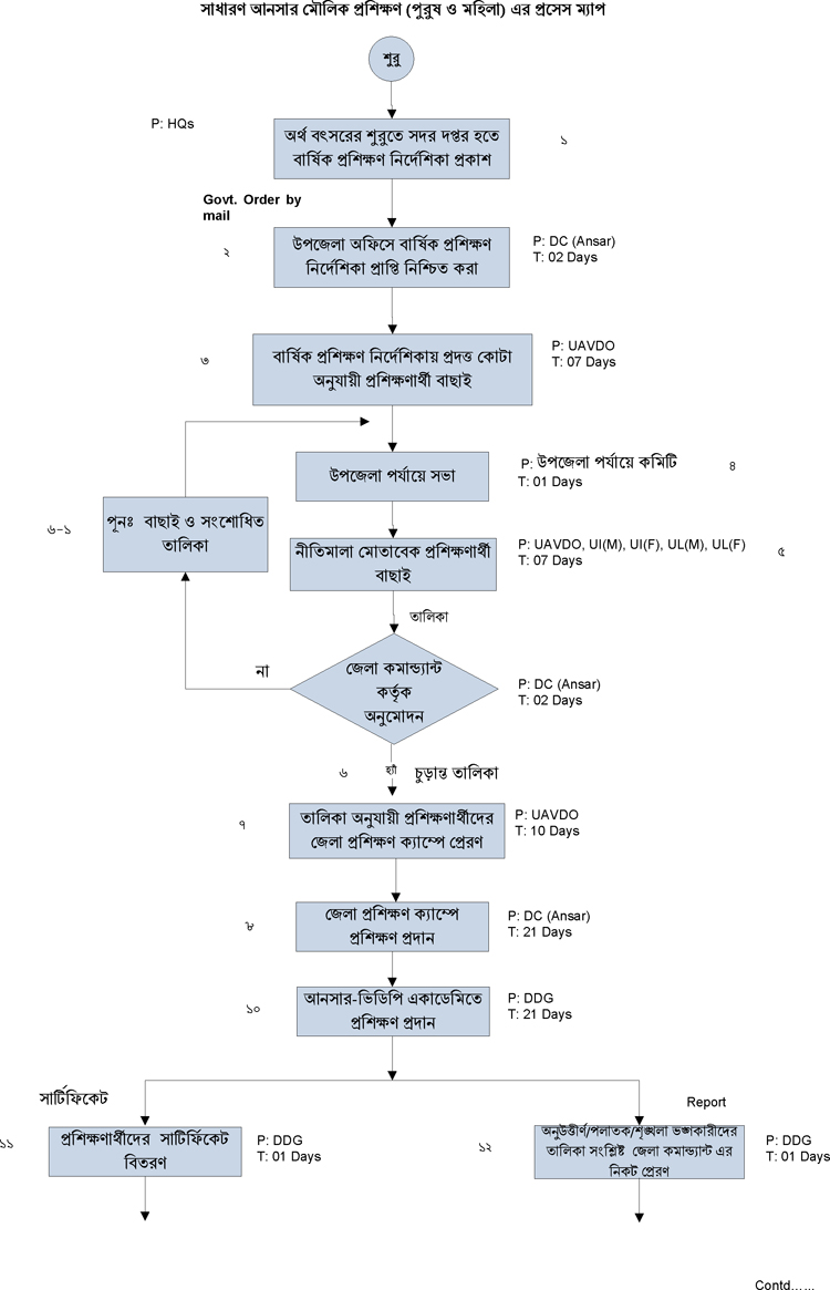
মৌলিক প্রশিক্ষনের প্রসেস ম্যাপ দেখুন
আনসার ভিডিপি উন্নয়ন ব্যাংকের মাধ্যমে ক্ষুদ্র ঋণ সেবার প্রসেস ম্যাপ দেখুন
পেশাভিত্তিক প্রশিক্ষণের প্রসেস ম্যাপ দেখুন
দেখছেন ১ থেকে ৭ পর্যন্ত, মোট ৭ এন্ট্রি

এক্সেসিবিলিটি

স্ক্রিন রিডার ডাউনলোড করুন